| 제목 | 아치형 지점부 연결부재를 이용한 교량 시공방법 |
|---|---|
| 작성자 | 기술연구소 |
| 작성일 | 2018-05-04 11:09:09 |
| 조회수 | 4765 |
| 첨부파일 |
|
|
발명의 내용
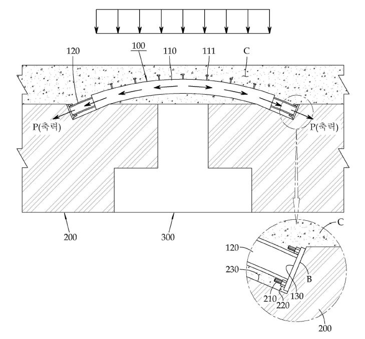
U형 거더, PSC 거더, U형 강박스와 같은 거더들을 교각 상부에 횡방향으로 설치된 단차형 코핑부에서 효과적으로 연속화시킬 수 있는 다경간 교량 시공방법으로서 상기 교량 시공방법은 교각의 기둥부를 지반에 시공하고 상기 기둥부 상면에 수직벽과 수직벽 하부 양 측방으로 연장된 단차부로 구성된 단차형 코핑부를 횡방향으로 연장되도록 설치하는 단계; 상기 단차부 상면에 상부플랜지 상면에 앵커가 노출되어 도출된 지지홈이 형성된 거더들이 얹어져 거더들을 연속 지점부에 서로 인접되도록 설치하는 단계: 및 양 단부면에 단부 연결강재가 돌출 형성되고 상기 단부 연결강재의 단부면에 단부 연결플레이트가 형성된 아치형 지점부 연결부재를 서로 인접한 거더들의 상면에 연결시켜 거더를 서로 연속화시키는 단계를 포함한다.
|
|