| 제목 | 상판 일체형 프리캐스트 브라켓으로 캔틸레버부가 형성된 프리스트레스트 콘크리트 박스 거더를 갖는 교량 및 그 시공방법 |
|---|---|
| 작성자 | 기술연구소 |
| 작성일 | 2018-05-04 11:08:17 |
| 조회수 | 6721 |
| 첨부파일 |
|
|
발명의 내용
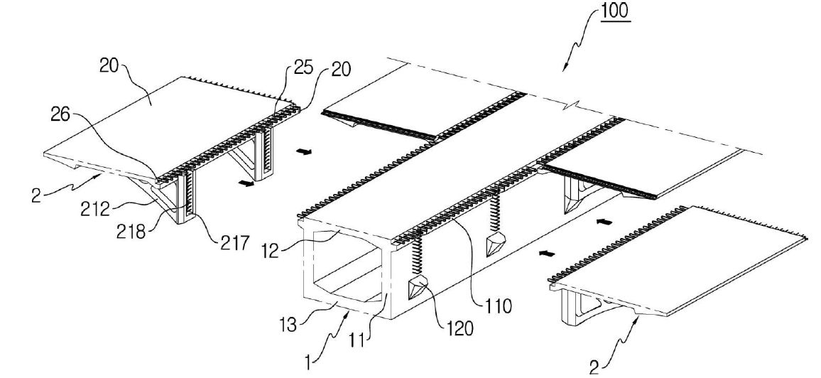
본 발명은 PSC 박스 거더를 갖는 교량에서 박스형 단면을 가지는 주거더의 교축직각방향 양측에 설치되는 캔틸레버부를, 상판과 일체로 되어 있는 프리캐스트 브라켓에 의해 형성함으로써, PSC 박스 거더의 캔틸레버부에 대해 교축직각방향으로의 프리스트레싱이 필요하지 않도록 하고, 캔틸레버부의 시공을 위한 동바리 및 거푸집의 설치도 생략할 수 있어 공사비 절감 및 공기단축, 그리고 시공품질을 향상시킬 수 있도록 구성한 상판 일체형 프리캐 스트 브라켓에 의해 캔틸레버부가 형성된 PSC 박스 거더를 가지는 교량 및 그 시공방법에 관한 것이다. 본 발명에 따른 교량에서 PSC 박스 거더에 의한 상부구조는, 측벽(11)과 상부판(12) 그리고, 하부판(13)으로 이루어진 박스형 단면을 가지는 주거더(1)와; 슬래브 형태로 제작된 상판(20), 및 수직프레임(210)과 수평프레임(211)과 경사프레임(212)으로 구성된 브라켓(21)이 상기상판(20)과 일체도 된 프리캐스트 캔틸레버부(2)를 포함하여 형성된다.
|
|