기술연구소

특허

HOME 기술연구소 지적재산권 특허
게시판
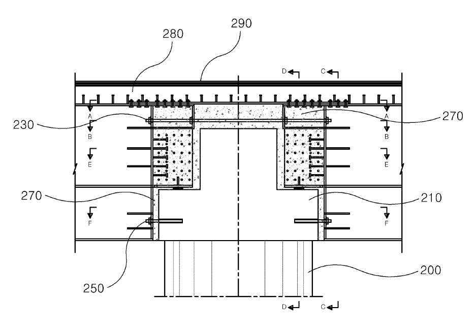
제목 코핑을 이용한 교량의 주거더 연결방법
작성자 기술연구소
작성일 2018-05-04 11:10:19
조회수 5073
첨부파일

발명의 내용

 

본 발명은 교축방향에서 교각의 코핑부를 중심으로 양쪽의 거더가 연속되는 연속지점부 구조를 형성함으로써 거더의 아래쪽으로 돌출 구조물로 존재하던 코핑부를 제거하여, 형하공간을 확보할 뿐만 아니라 미관이 우수한 교량을 시공할 수 있도록 한 코핑을 이용한 교량의 주거더 연결방법을 제공하는데 그 목적이 있다.