| 제목 | 종방향 분절형 거더 |
|---|---|
| 작성자 | 기술연구소 |
| 작성일 | 2018-05-04 11:09:51 |
| 조회수 | 4634 |
| 첨부파일 |
|
|
발명의 내용
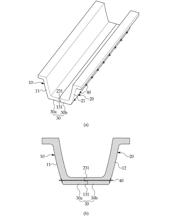
본 발명은 종방향 분절형 거더는 경사복부와 경사복부를 연결하는 플랜지를 갖는 피에스씨 U형 거더 또는 폐합박스 거더에 있어서, 상기 거더는 플랜지가 종방향으로 2등분 되어 제1세그먼트와 제2세그먼트로 구성되며, 제1세그먼트와 제2세그먼트가 결합되는 결합면에는 각각 전단키가 구성되어 상호 결합하고 에폭시를 도포하여 일체화하도록 구성함으로써, 피에스씨 U형 거더를 종방향으로 분할 제작하여 조립하도록 구성하여 가설중량을 최소화할 수 있으며, 가설시 거더의 중량을 최소화하도록 하여 박스단면의 구조적인 장점과 경사복부 단면의 경제성을 동시에 확보할 수 있어 장경간의 지간에 적용할 수 있는 매우 유용한 효과가 있다.
|
|